|
行政权力实施程序和运行流程
单位名称(盖章):岳阳楼区民政局 填报日期:2018年11月12日
|
事项名称
|
未经批准,擅自兴建殡葬设施,擅自开办公墓、乡村骨灰存放处和乡村公益性墓地和擅自扩大墓穴占地面积和墓碑规格的处罚
|
|
事项类型
|
行政处罚
|
办事对象
|
岳阳楼区区民
|
|
法定期限
|
法律法规规定的
|
承诺期限
|
一般3―6个月
|
|
实施机关
|
岳阳楼区民政局
|
责任科室
|
殡葬执法大队
|
|
咨询电话
|
8963656
|
投诉电话
|
8844135
|
|
受理条件
|
受理举报和查处
|
|
申报材料
|
相关文件、照片、证人、证词、调查等证据
|
|
法定依据
|
国务院《殡葬管理条例》(中华人民共和国国务院令 第225号)第十八条:未经批准,擅自兴建殡葬设施的,由民政部门会同建设、土地行政管理部门予以取缔,责令恢复原状,没收违法所得,可以并处违法所得一倍以上三倍以下的罚款。
第十九条:墓穴占地面积超过省、自治区、直辖市人民政府规定的标准的,由民政部门责令限期改正,没收违法所得,可以并处违法所得1倍以上3倍以下的罚款。
《湖南省《殡葬管理条例》办法》(湖南省人民政府令第154号)第二十九条:违反本办法,具有下列行为之一的,由民政部门会同有关部门责令限期改正,没收违法所得,可以并处违法所得一倍以上三倍以下罚款。
(一)未经审批擅自开办经营性公墓、公益性公墓的;
(二)公墓内超面积建造墓穴或者超标准树立墓碑的;
(三)制造、销售封建迷信丧葬用品或者在火葬区区域内制造、销售土葬用品的。
|
|
收费标准
|
依法收取实际数
|
|
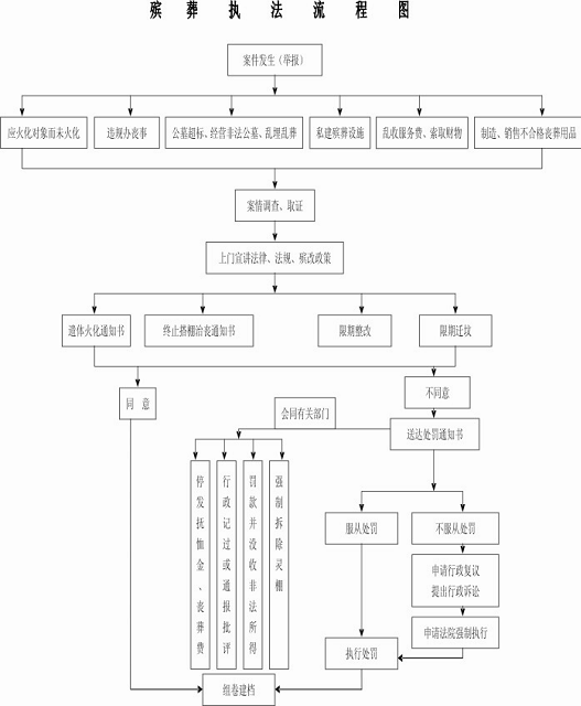
运
行
流
程
图
|

|
行政权力实施程序和运行流程
单位名称(盖章):岳阳楼区民政局 填报日期:2018年11月12日
|
事项名称
|
将应当火化的人员死亡后土葬,或者在公墓和农村的公益性墓地以外的其他地方埋葬遗体、建造坟墓的的处罚
|
|
事项类型
|
行政处罚
|
办事对象
|
岳阳楼区区民
|
|
法定期限
|
法律法规规定的
|
承诺期限
|
一般3―6个月
|
|
实施机关
|
岳阳楼区民政局
|
责任科室
|
殡葬执法大队
|
|
咨询电话
|
8963656
|
投诉电话
|
8844135
|
|
受理条件
|
受理举报和查处
|
|
申报材料
|
相关文件、照片、证人、证词、调查等证据
|
|
法定依据
|
国务院《殡葬管理条例》(中华人民共和国国务院令 第225号)第二十条:将应当火化的遗体土葬,或者在公墓和农村的公益性墓地以外的其他地方埋葬遗体、建造坟墓的,由民政部门责令限期改正。
湖南省实施《殡葬管理条例》办法(湖南省人民政府令第154号) 第二十七条:将应当火化的遗体土葬、将骨灰装棺土葬的,由民政部门责令丧主限期改正。
第二十八条:违反本办法规定,在经营性公墓、公益性公墓以外的地方建造坟墓;恢复和建造宗族墓地;建造永固性墓穴、活人墓的,由民政部门责令当事人限期改正。
|
|
收费标准
|
依法收取实际数
|
|
运
行
流
程
图
|

|
行政权力实施程序和运行流程
单位名称(盖章):岳阳楼区民政局 填报日期:2018年11月12日
|
事项名称
|
公墓、乡村公益性墓地接纳应当火化遗体土葬或者骨灰装棺土葬的处罚
|
|
事项类型
|
行政处罚
|
办事对象
|
岳阳楼区区民
|
|
法定期限
|
法律法规规定的
|
承诺期限
|
一般3―6个月
|
|
实施机关
|
岳阳楼区民政局
|
责任科室
|
殡葬执法大队
|
|
咨询电话
|
8963656
|
投诉电话
|
8844135
|
|
受理条件
|
受理举报和查处
|
|
申报材料
|
相关文件、照片、证人、证词、调查等证据
|
|
法定依据
|
湖南省实施《殡葬管理条例》办法(湖南省人民政府令第154号) 第二十七条:将应当火化的遗体土葬、将骨灰装棺土葬的,由民政部门责令丧主限期改正。
第二十八条:违反本办法规定,在经营性公墓、公益性公墓以外的地方建造坟墓;恢复和建造宗族墓地;建造永固性墓穴、活人墓的,由民政部门责令当事人限期改正。
|
|
收费标准
|
依法收取实际数
|
|
运
行
流
程
图
|
|
行政权力实施程序和运行流程
单位名称(盖章):岳阳楼区民政局 填报日期:2018年11月12日
|
事项名称
|
违规操办丧事,倒卖墓穴和骨灰存放格位牟取非法利润的处罚
|
|
事项类型
|
行政处罚
|
办事对象
|
岳阳楼区区民
|
|
法定期限
|
法律法规规定的
|
承诺期限
|
一般3―6个月
|
|
实施机关
|
岳阳楼区民政局
|
责任科室
|
殡葬执法大队
|
|
咨询电话
|
8963656
|
投诉电话
|
8844135
|
|
受理条件
|
受理举报和查处
|
|
申报材料
|
相关文件、照片、证人、证词、调查等证据
|
|
法定依据
|
湖南省实施《殡葬管理条例》办法(湖南省人民政府令第154号) 第三十条:在殡仪活动中妨碍公共秩序、危害公共安全、侵害他人合法权益,进行封建迷信活动或者破坏殡葬设施;从事非法经营性殡仪服务活动;倒卖炒卖、传销或变相传销墓穴和骨灰存放格位的,由民政、公安、工商行政管理等有关部门予以制止,并依照有关法律、法规、规章处理。
|
|
收费标准
|
依法收取实际数
|
|
运
行
流
程
图
|
|
|